我公司自1992年开始,一直为“国家内燃机发电机组质量监督检查中心”检验合格的柴油发电机组制造厂商。公司拥有先进的检测设备、精湛的生产工艺、专业的制造设计、完善的质量管理体系、 雄厚的研发实力,服务网络遍布全国各地,随时为您提供设计、供应、调试、维修一条龙服务!
24小时销售热线:13878198542
24小时服务热线:13878801642
了解发电机组的柴油机结构组成及功能,对做好维护管理好发电机组是极其重要的,推荐阅读《了解柴油机结构组成,维护管理发电机组得心应手(一)》。如需专业柴油发电机组技术支持,欢迎来电:13878198542
喷油泵:喷油泵在使用过程中,不可做任何调整,铅封不能被破坏,否则发动机保修无效。
●故障:喷油泵在使用过程中产生的所有故障必须由喷油泵厂家指定的专业维修部进行维修。
●燃油系统捧气:燃油滤清器排空气是通过松开放气螺塞,在操作过程中喷油泵的吸入室通过放气阀不断将燃油 放出。如果吸入室内为空或安装了新喷油泵,就要通过手动输油泵的方法进行注油或放油。
输油泵:输油泵是通过喷油泵的凸轮轴凸轮驱动运行。
喷油器保养: 喷油器由喷油器体和喷嘴组成,喷油器作用是将喷油泵内高压燃油雾化后喷入燃烧室:装配 在喷油器上的铜垫片是为了保证安装后的气密性和良好的散热性能;通过调整压缩弹簧和调整垫片可以改变喷嘴的开启压力。

燃油供油装置:必须在燃油箱和柴油机之间安装油水分离器,因为油箱经常处于潮湿的环境中,经?;嵊兴稚?/span>入燃油进入柴油机,这将导致喷油器油嘴堵塞和柴油机效率下降等故障。
燃油系统安装示例:
供油装置的油箱位置一般应高于发动机输油泵;当油箱处在较低时,输油泵吸油升程应在1m以内油管路不应局部弯曲,防止产生气泡。
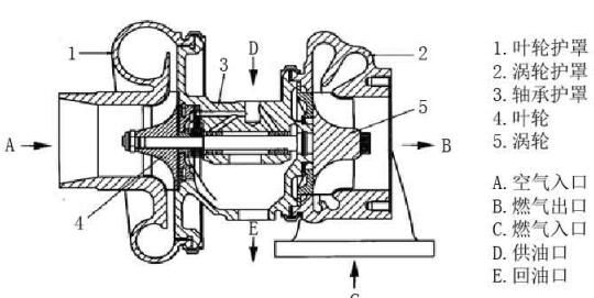
增压器结构:柴油机排气时通过涡轮增压器的涡轮转子,涡轮转子带动安装在同一个轴上的空气叶轮吸进新鲜的空气并以高压传送到燃烧室,涡轮增压器是通过空气进行冷却,主轴承润滑油由发动机润滑系统供给。
